CONTAX AX :
UN VIAGGIO DENTRO I
SEGRETI
DI UN PROGETTO RIVOLUZIONARIO
_______________________________________________________________________________________
La Kyocera Corporation di Kyoto è
un'azienda molto vitale con interessi estremamente diversificati ed un know-how
invidiabile ramificato nelle più avanzate tecnologie, dall'elettronica ai
materiali ceramici ai trattamenti superficiali dei metalli;
tutto questo fa si che qualunque prodotto venga concepito dai suoi tecnici sia
un raffinato cocktail di design, ergonomia e
tecnica avveniristica e le celebri fotocamere Contax, progettate e prodotte
direttamente dopo l'assorbimento della Yashica,
non fanno certo eccezione: basti pensare al pulsante di scatto in zaffiro
ricristallizzato Romande della compatta Contax T,
allo speciale pressapellicola in ceramica high-tech della Contax ST,
all'esclusivo dorso aspirante per la planeità del film
montato sull'ammiraglia RTS III o all'originale sistema di messa a fuoco
assistita con valutazione della profondità di campo
ella Contax RX: tutti biglietti da visita inequivocabili di un'azienda che in
quel periodo credeva molto al settore fotografia
e che aveva perfezionato la join-venture con Zeiss tramite un accordo blindato
con ampia libertà d'azione e gestione
manageriale del settore, oltre ad una completa libertà nelle scelte tecniche e
di design ed un'esclusiva sul nome Contax
garantita per molti anni, un accordo molto vincolante che sarebbe poi divenuto
per Zeiss un autentico capestro, ma
questa è un'altra storia....
All'inizio degli anni '90 il sistema Contax si trovava ad affrontare un problema
grave ed improcrastinabile: i più agguerriti
sistemi concorrenti erano stati convertiti all'autofocus da quasi 10 anni ed
anche gli inossidabili utenti Contax, cresciuti
all'ombra del mito Zeiss o giunti transfughi dal disastro Zeiss Ikon,
cominciavano a porsi dubbi amletici, a vacillare nella
loro fede incrollabile e magari ad infilare un corpo Canon con un paio di zoom
USM in borsa; per Kyocera e Zeiss era
una bella gatta da pelare, perchè si trattava di dotare il sistema di
autofocus, salvando nel contempo un patrimonio
inestimabile di preziosi vetri Zeiss prodotti per quattro lustri; inoltre i
clienti, abituati fin troppo bene alla perfezione
meccanica Zeiss, storcevano il naso davanti alla prospettiva di trovarsi a fare
i conti con i vistosi giochi meccanici che
la riduzione degli attriti imposta dall'AF richiedeva, e come - ad esempio - i
primi AF-Nikkor avevano evidenziato.
Dopo affannoso confabulare ed un'attenta
e puntigliosa valutazione dei dettagli si decise per una scelta coraggiosa e
nel contempo rivoluzionaria: se Maometto non va alla montagna...... Uno dei più
valenti ingegneri del settore fotografia
in carico alla Kyocera, il Dr. Masaru Yamamoto-San di Machida, fu incaricato di
progettare un apparecchio reflex
dove l'intero blocco specchio-mirabox-pentaprisma-otturatore-dorso
portapellicola fosse mobile e montato su una
guida a scorrimento rettilineo lungo l'asse di ripresa, in modo da effettuare la
messa a fuoco modificando il tiraggio
meccanico dll'apparecchio e non tramite regolazioni messe in atto
dall'obiettivo: il progetto avrebbe salvato capra
e cavoli, dal momento che avrebbe convertito all'autofocus l'intero parco Zeiss
prodotto dal 1974 in avanti senza
modifica alcuna; Yamamoto-San sviluppò il grosso del progetto fra il 1994
ed il 1995, ed il 30 Giugno di quell'anno
fu terminato; l'entusiasmo in casa Kyocera ed in casa Zeiss era palpabile, la
fase di industrializzazione e di produzione
in serie fu avviata in fretta e furia e nel 1996 fu presentato il frutto di
tanti sforzi, la Contax AX, autentica pietra
miliare nella progettazione di apparecchi fotografici, giustamente e
ripetutamente premiata da numerosi Enti.
Il brevetto della AX di Yamamoto è insolitamente corposo ed articolato
su ben 52 pagine, con alcune opzioni
interessanti che non sono state incorporate nell'apparecchio (di per se già fin
troppo sofisticato), e che andremo
ad analizzare in questa sede, come al solito in anteprima.

la Contax AX, il frutto di geniali intuizioni e di una ingegnerizzazione
del progetto allo stato dell'arte;
l'apparecchio è giocoforza molto corpulento, dal momento che un modulo interno
con i principali
elementi scorre su guide con una corsa di 10mm, garantendo la messa a fuoco di
qualsiasi obiettivo;
l'advertisimg puntò molto su questo atout, palesandolo fino al paradosso nelle
inserzioni pubblicitarie
che accompagnarono una massiccia campagna, dove la AX era accoppiata d un Sonnar
150mm
Hasselblad, reso AF dal corpo macchina, un'anomalia stridente sottolineata ancor
più dalla scelta di una
vecchia versione C a finitura cromata; abbino spesso alla mia AX il minuscolo
Tessar 2,8/45, creando
un abbinamento quasi umoristico dove l'obiettivo ultra-sottile pare quasi un
tappo-macchina, un
accoppiamento concettualmente grottesco ma esteticamente piacevole

la vista dall'alto mostra senza pietà l'inusitato spessore del corpo AX,
obbligato dal doppio guscio
coassiale e dal movimento interno, che rende oggettivamente difficile il
brandeggio per mani di piccola
taglia; per il resto l'apparecchio conferma la consueta, logica ed eccellente
ergonomia dei comandi,
un classico dei corpi Contax, tutti collocati razionalmente al posto giusto.
L'apparecchio mette a disposizione
tutte le funzioni che un utente esperto è autorizzato a chiedere: otturatore da
30" ad 1/6000", syncro-flash
molto rapido, esposizione manuale, programmata e a priorità di tempi o di
diaframmi, lettura media con
prevalenza al centro o spot, flash TTL, AE-Lock ed AF-Lock comandabili
separatamente, bracketing automatico
su 0,5 o 1 stop, correzione diottrica al mirino, messa a fuoco manuale o
automatica singola e continua, avanzamento
motorizzato a scatto singolo o a raffica lenta e veloce, servo-illuminatore AF,
posizione Syncro-X indipendente
contro le rimozioni accidentali, presa syncro PC, vetri di messa a fuoco
intercambiabili, chiusura stop-down
del diaframma e, per gli incontentabili, anche l'esposizione multipla sul
fotogramma, due autoscatti elettronici,
da 2 e da 10 secondi, e lettura del codice DX del film, il tutto utilizzando i
classici obiettivi Zeiss: cosa chiedere di più?

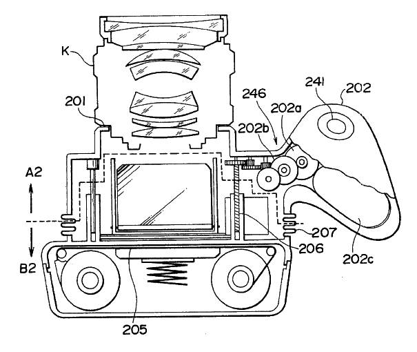
il dorso aperto evidenzia il caratteristico pressapellicola a
pantografo della AX, che si aggancia al modulo
AF interno seguendolo nella sua corsa assieme al film; il modulo scorre su guide
in ceramica high-tech,
uno dei campi in cui la Kyocera è leader mondiale, caratterizzate dall'assenza
di attriti (e quindi di
lubrificanti, sempre fonte di problemi sul lungo termine) e da un accoppiamento
con tolleranze da
orologeria, mentre il movimento, molto silenzioso, è assicurato da un motore ad
ultrasuoni, il tutto
alimentato da una batteria al litio tipo 2CR5

una caratteristica esclusiva della AX è rivelata
dall'insolita posizione "macro" nei comandi dell'autofocus: in
pratica,
attivando questa funzione, il modulo arretra fino alla battuta di fine-corsa
posteriore, aumentando di 10mm il tiraggio
base del corpo Contax (passando quindi da 45,5mm a 55,5mm), riducendo
drasticamente la messa a fuoco minima
di tutti gli obiettivi Zeiss, specie i grandangolari, anche se dal punto di
vista ottico questo tiraggio aggiuntivo, non
previsto nei parametri, può degradare la resa ottica, soprattutto negli
obiettivi luminosi.
Globalmente, si tratta di un grande apparecchio; le sue zone
d'ombra - a parte un autofocus abbastanza lento e poco
propenso a funzionare con soggetti a basso contrasto e/o bassi livelli di
illuminazione (e comunque è ad anni luce
da Canon EF) - sono conseguenze dirette proprio del suo concetto fondamentale:
la messa a fuoco effettuata con
una semplice e brutale variazione del tiraggio; molti obiettivi Zeiss Contax
effettuano la messa a fuoco tramite
un flottaggio indipendente delle proprie lenti, il che consente di mantenere
alle distanze ravvicinate una qualità
ragionevole, soprattutto con i grandangolari, i luminosi e gli zoom; montando
questi obiettivi settati su infinito (per
focheggiarli sfruttando le variazioni di tiraggio) porterà un oggettivo
scadimento delle prestazioni alle coniugate
brevi rispetto allo stesso obiettivo focheggiato col suo elicoide (che mette in
atto i flottaggi necessari), variabile
da esemplare ad esemplare...
Non si tratta di un problema circoscritto, dal momento che gli Zeiss
Contax che sfruttano un movimento di lenti
durante la messa a fuoco sono una schiera che comprende: 3,5/15, 2,8/16, 4/18,
2,8/21, 2/28, 1,4/35, 1,2/55,
1,2/85, 2,8/100 makro, 2,8/180, 2/200, 2,8/300 e TUTTI i Vario-Sonnar; per
minimizzare il problema sarebbe
necessario regolare preventivamente la messa a fuoco dell'obiettivo su un valore
approssimativamente simile a
quello su cui andrà focheggiato, e lasciare al back-focusing solo i minimi
aggiustamenti finali; inoltre la variazione
di tiraggio pari a 10mm, già con le focali medio-lunghe, è insufficiente per
garantire il passaggio da infinito alle
coniugate minime permesse dall'obiettivo in condizioni normali, e per lavorare a
distanza ravvicinata è necessario
pre-focheggiare manualmente su distanze inferiori ad infinito; infine, si è
notano che il piano di fuoco scelto dalla
macchina al termine della fase AF non collima perfettamente con quanto
evidenziato dal telemetro di Dodin del
mirino (anche se, in verità, non ho mai riscontrato sfuocati evidenti, nemmeno
col 2,8/180 a piena apertura nel
ritratto): si può ipotizzare che il modulo AF sia stato programmato per
raggiungere una certa soglia di contrasto
considerata messa a fuoco accettabile, e provenendo dallo sfuocato si avvicini
al piano di fuoco perfetto fermandosi
quando il sensore AF riscontra quel determinato livello di brillantezza, mentre
è possibile che passando leggermente
oltre essa aumenterebbe ulteriormente; è un sentore diffuso fra gli utenti ma
non si è mai giunti ad una risposta
certa, nè tantomeno ad immagini fuori fuoco, quindi cito l'episodio a mero
titolo di curiosità.
Naturalmente stiamo cercando il pelo nell'uovo, e queste obiezioni perdono
consistenza di fronte alla possibilità
di focheggiare automaticamente qualunque sistema ottico sia possibile anteporre
all'apparecchio, al limite
anche un bicchiere...lunga vita alla Contax AX, dunque, vero trait d'union fra i
sistemi tradizionali e confermati
nei decenni su standard di qualità altissimi e le lusinghe delle tecnologie
più avveniristiche!
Dopo queste considerazioni generali voglio analizzare alcuni aspetti del
progetto originale, che prevedeva
ben sette prototipi diversi, differenziati da dettagli minimi ma comunque
interessanti in quanto sono indicativi
di indirizzi tecnici abbozzati da Kyocera e Zeiss e poi abbandonati; passiamo
dunque in rassegna queste
inedite sezioni.

il prototipo n° 1 presenta già in germe le caratteristiche principali della
Contax AX definitiva;
il motore ad ultrasuoni non era previsto in alcuno dei 7 prototipi, e si tratta
evidentemente di
una gradita evoluzione introdotta in corsa

il prototipo n° 2 prevede una ROM con i
dati caratteristici di tutti gli obiettivi Zeiss, necessari per
agevolare l'azione dell'autofocus; il modello è selezionabile tramite una
ghiera e visualizzabile su un
display

un esempio della serie di dati rom che
sarebbero stati inseriti nella memoria dell'apparecchio;
la presenza di strane quote come il tiraggio necessario da infinito a distanza
minima, la
lunghezza focale effettiva, la distanza fra i punti nodali dello schema ottico
oltre ad un fattore
specifico di correzione fanno sospettare che si siano basati su un principio di
messa a fuoco
diciamo "ibrido" fra quello tradizionale (basato sulla valutazione
effettiva del contrasto durante
la focheggiatura automatica) e quello adottato dalla Contax G a telemetro, dove
un telemetro
elettronico misurava la distanza, che veniva poi impostata meccanicamente con un
esatto numero
di giri e frazioni di giro imposte all'alberino AF; questo sospetto verrà
confermato dalle
caratteristiche di alcuni prototipi a seguire, che mi hanno fatto dedurre quanto
segue:
si intendeva agire in modo che il sensore AF percepisse una certa entità di
sfuocato, equiparabile
meccanicamente ad un certo spostamento meccanico del modulo, basato su una rom
di dati
sperimentali acquisiti e presenti nell'apparecchio, movimento che veniva
effettuato senza ulteriori
riscontri da parte del modulo di contrasto (procedura ritenuta forse più
rapida); il sensore di
contrasto del modulo AF entrava in azione solo al termine dello spostamento
meccanico
predeterminato, per i necessari aggiustamenti fini della messa a fuco perfetta.
Ovviamente non sono in grado di valutare
se questa procedura è stata mantenuta anche
nella Contax AX definitiva

un terzo prototipo evidenzia l'opzione per effettuare la messa a fuoco assistita manuale

un quarto prototipo evidenzia una
opzione di blocco della messa a fuoco automatica
attivato da un ulteriore step del pulsante di scatto: il primo step attiva
l'autofocus, il
secondo lo disattiva ed il terzo esegue l'esposizione

un quinto prototipo è molto
interessante perchè rivela due opzioni prese in considerazione da
Kyocera e Zeiss, e poi abbandonate: la realizzazione di obiettivi Zeiss-AF
dotati di presa
di forza AF (come, ad esempio, gli AF-Nikkor) e di CPU incorporata con
ROM dedicata;
la sezione palesa due motori AF, uno destinato a muovere il modulo interno con
gli obiettivi
MF e l'altro ad azionare la presa di forza con gli obiettivi AF, a loro volta
interfacciati con
l'apparecchio tramite una ROM inserita nel barilotto

la vista assiale dall'alto rivela come il problema dell'eccessivo
spessore del corpo
(che rende precario il brandeggio) fosse stato considerato, precedendo come
alternativa
l'adozione di un'impugnatura anatomica laterale esterna

questo schema con alcune funzioni del prototipo n° 5 lascia
intendere che fosse prevista
l'opportunità di mantenere entrambi i sistemi AF simultaneamente attivi, forse
per sfruttare
l'aumento del tiraggio meccanico a distanza ravvicinata

una vista prospettica dall'interno del prototipo n° 6, caratterizzato da una
complessa
meccanica ma anche da una golosa opzione, resa possibile dal tiraggio meccanico
ampiamente regolabile: la sostituzione dell'attacco obiettivi per montare
baionette
destinate ad altre famiglie di ottiche, anche concorrenti, eventualmente: il
corpo
AF universale, utilizzabile anche con le vecchie ottiche MF!

il prototipo n° 6 prevede anche il controllo della chiusura del diaframma
a controllo elettronico, tramite servomotore

una vista dall'alto del prototipo n° 6 conferma l'opzione prevista per una
estetica
da "medio formato 6x4,5", con ampia impugnatura laterale per ovviare
allo spessore
del corpo e per contenere il potente motore, ancora di tipo tradizionale

il prototipo n° 7 è caratterizzato da due motori che
sovrintendono allo spostamento
del modulo tramite viti senza fine, una a passo macrometrico (per rapidi
spostamenti
di rilevante entità) ed una a passo micrometrico (per l'aggiustamento fine)

il dettaglio dei due motori che fanno scorrere il modulo su guide rettilinee;
appare
molto evidente la differenza nel passo delle due madreviti

uno schema che evidenzia la logica con cui i due motori interagiscono

il workflow relativo all'autofocus del prototipo n° 7 che
evidenzia come il sensore
AF inizialmente quantifichi un certo grado di defocus, immediatamente riferito e
parametrato ad un certo numero di giri da applicare all'albero macrometrico e
a quello micrometrico; a questo punto la messa a fuoco del modulo avviene in
modo puramente meccanico, come sulla Contax G, senza che il sensore AF
effettui alcun riscontro, ed è chiamato in causa solo al termine, per la
conferma
di fuoco ed eventuali, piccole correzioni dell'ultimo istante; non mi è molto
chiara la logica di questo sistema; può darsi che con simile prassi
l'aggiustamento
avvenga più rapidamente e senza impuntamenti, ma non condivido il principio
e spero che nel modello definitivo non sia stato adottato
Una considerazione finale: Zeiss e Kyocera presentarono un
prototipo di Contax dotato
di AF tradizionale (con trasmissione del moto tramite presa di forza
dall'apparecchio
all'obiettivo AF-Zeiss) nel lontano 1982, da autentici pionieri; se avessero
sviluppato
subito questo sistema, poi rivelatosi vincente ed ampiamente adottato, forse la
storia
e le fortune dei sistemi AF sarebbero state riscritte, e adesso non staremmo
parlando
di Contax coniugando al passato.
IL MARCOMETRO

E' UNA PIETRA MILIARE NEGLI APPARECCHI
REFLEX MONOBIETTIVO,
IN GRADO DI FORNIRE UN MINIMO DI CONFORT
E MARGINE OPERATIVO
AGLI INOSSIDABILI AMANTI DELLA PERFEZIONE ZEISS. A
ME PIACE TANTISSIMO.
foto e attrezzature di Marco Cavina - foto eseguite con Canon EOS 350D e Canon
EF 100mm f/2,8 macro USM
__________________________________________________________________________
CONTATTO
ARTICOLI TECNICI
FOTOGRAFICI