LEITZ SUMMILUX-M 50mm f/1,4:
UNO SCONOSCIUTO PROTOTIPO DEL 1958
DERIVATO DAL SUMMILUX-M 35mm f/1,4
_________________________________________________________________________
Abbiamo precedentemente evocato la storia del
Summilux-M 50mm f/1,4, mettendo in rilievo come dal
Summarit 5cm f/1,5 si passò direttamente al famoso Summilux-M di Mandler,
sopravvissuto dai primi anni
'60 fino all'avvento del modernissimo Summilux-M Asph.; lo schema del Summilux-M
non-asph. è molto
caratteristico e innovativo ed inaugurò un filone evolutivo che diede i natali,
come già discusso, anche ai
Summilux 75mm f/1,4 ed 80mm f/1,4; questa è la storiografia ufficiale; in
realtà Walter Mandler, quando
calcolò il famosissimo Summilux-M 35mm f/1,4 con la collaborazione di Erich
(SIC) Wagner, durante
la prima metà del 1958, mise in cantiere anche un'opzione 50mm f/1,4, basata
sullo stesso, caratteristico
Gauss asimmetrico reso poi celebre dal Summilux 35, prodotto per oltre 30 anni,
a cominciare dalla
settima, tipica lente aggiuntiva posizionata subito dietro il diaframma, al
centro dei due emigauss; sappiamo
che la formula del Summilux 35, peraltro plastico e soggettivamente piacevole,
era caratterizzata da alcune
tare come una vistosa vignettatura, una certa curvatura di campo e bordi deboli
alle grandi aperture:
tuttavia l'opzione di riconfigurare questo schema per una focale 50mm, passando
dai 64° del progetto
35mm ad appena 46°, avrebbe permesso senz'altro di correggere meglio queste
leggere pecche, ottenendo
uno stato di correzione superiore mantenendo il caratteristico fingerprint,
riconoscibile, proprio del
Summilux 35mm f/1,4.
Con queste premesse lascia quindi stupiti la scelta di abortire l'opzione 50mm
f/1,4, mettendo il produzione
solamente il Summilux 35, e delegando all'ormai obsoleto Summarit il gravoso
compito di tenere alto
il blasone nel suo segmento ancora per qualche anno, fino al lancio del
successivo calcolo ottico di Mandler,
completamente diverso anche come filosofia, che avrebbe dato vita al Summilux
che tutti conosciamo.
Mi premeva alzare il velo su questa occasione mancata, dal momento che tale
opzione di Leitz 50/1,4 era
finora sconosciuta; a tale proposito allego materiale inedito che descrive in
dettaglio un obiettivo rimasto
solamente in potenza, ma con tutte le credenziali in regola per dare vita
ad un ennesimo mito Leitz

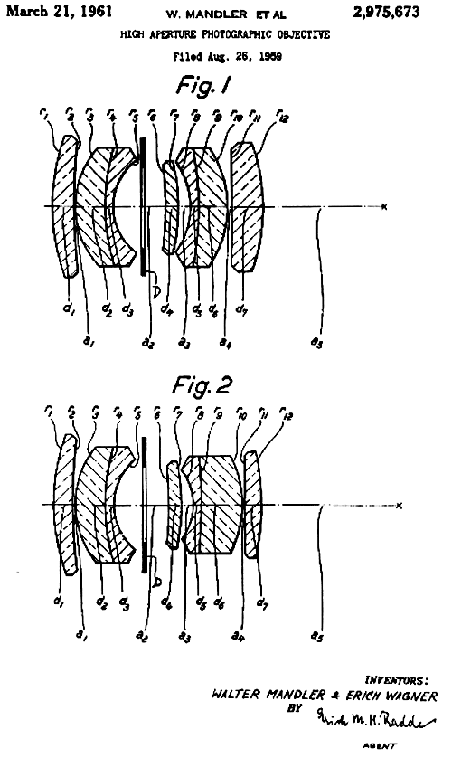
la schermata del brevetto originale americano relativo al progetto da cui
derivò il
celebre Summilux-M 35mm f/1,4: presentato per la registrazione nell'Agosto 1959,
faceva seguito ad analogo brevetto tedesco dell'Agosto 1958. La figura n°
1 è
relativa al Summilux 35mm f/1,4 (la versione di produzione fu leggermente
corretta
e modificata rispetto a questo schema preliminare), mentre la figura n° 2
illustra
un'opzione f/1,4 da 46°, ovverosia un 50mm Summilux, derivato direttamente
dallo
stesso, caratteristico Gauss asimmetrico

il prototipo di Summilux-M 35mm f/1,4 con le inedite tabelle dei suoi vetri
ottici

la versione 50mm-46° f/1,4 derivata da Mandler e Wagner dall'identico schema;
se la più critica versione
35mm passo il vaglio per produzione definitiva e rimase sul mercato per oltre 30
anni, chissà
perchè non fu prodotta anche questa opzione 50mm, certamente più corretta, dal
momento che il
coevo Summarit f/1,5, derivato strettamente dallo Xenon prebellico, cominciava a
mostrare il fianco?
Affascinante mistero.
IL MARCOMETRO

UN'OCCASIONE PERDUTA: LANCIARE SUL MERCATO NEL 1960,
SIMULTANEAMENTE, I SUMMILUX 35 E 50, DOTATI DI ANALOGO
FINGERPRINT, SAREBBE STATA UNA MANOVRA DI
GRANDE
IMPATTO SU UN MERCATO CHE RECEPIVA ANCORA
MOLTO
BENE LE FOTOCAMERE A TELEMETRO; PECCATO.
______________________________________________________________________
CONTATTO
ARTICOLI TECNICI
FOTOGRAFICI