LO  SCRIPTORIUM  DI  PIERPAOLO  GHISETTI

ARTICOLO  n°  2

___________________________________________________________________

 

ADAM  WAGNER  - IL  DESIGNER  DELLA  LEICA  H

 

Pierpaolo Ghisetti

(30/04/2009)

(Disponendo di ulteriore materiale ricavato dai progetti originali di Wagner mi sono permesso
di aggiungere al materiale iconografico originariamente predisposto da Pierpaolo Ghisetti alcuni
schemi meccanici originali che documentano in dettaglio le sempre geniali innovazioni ideate
dal talentuoso progettista tedesco -  NdR-)

Nella compilazione del recente ‘Carta d’Identità delle Leica’ ho voluto aggiungere, tra tante altre novità, un capitolo dedicato ai prototipi Leica, ovvero a quelle macchine che sono arrivate, talvolta, molto vicine all’introduzione sul mercato, ma, per qualche motivo, tecnico o commerciale, si sono fermate ‘a due passi dalla cima’, come si direbbe in gergo alpinistico.

  Così mi sono imbattuto nella figura di Adam Wagner, designer e progettista di tanti prodotti Leica, anche di gran successo, ma che deve principalmente, e incongruamente, la propria notorietà ad un modello di Leica mai entrato in produzione.

Wagner, nato nel 1910 a Marburg, fu assunto dalla Leitz nel 1934 ed ebbe l’opportunità di conoscere personalmente Oskar Barnack, figura che lo influenzerà notevolmente in seguito dal punto di vista tecnico.

  Dopo tre anni di apprendistato fu trasferito al ‘Photo design’, ovvero il dipartimento che doveva tradurre le idee in funzioni pratiche sia nella manifattura che nell’ impiego dell’utente finale.

Uno dei suoi primi disegni riguardò il mirino accoppiato al telemetro della Leica IIIb, in seguito durante la guerra fu chiamato sotto le armi, finendo per combattere sul fronte russo, ma la Leitz riuscì a farlo rimpatriare, perché specialista in progettazione di armi speciali che erano state affidate alla Leitz, come ad esempio i visore notturni da montare sui carri armati.

Nel primo dopoguerra, sotto la spinta delle richieste dei fotografi professionisti che utilizzavano apparecchi Leitz, Wagner iniziò ad interessarsi alla fotografia col flash e i risultati furono due prodotti, integrati tra loro, che ebbero grande successo. La Leica IIIf , offerta nel 1950, col dispositivo integrale di sincronizzazione fu completata dal flash CHICO, vero capolavoro di design e compattezza, caratteristica tipica delle realizzazioni di Wagner.

Nel 1953, anno della sua introduzione sul mercato, questo flash vendette ben 30.000 pezzi, finendo per essere acquistato, per le sue qualità, anche da utenti che non usavano un apparecchio Leica.

Inoltre sempre a Wagner si deve il disegno del grilletto d’avanzamento Leicavit e il mirino a due cornicette della IIIg. Se si considera che la famiglia delle Leica F è stata complessivamente prodotta in oltre 230.000 esemplari e che la IIIg è considerata la più bella Leica con innesto a vite, si comprende bene il lavoro di Wagner, sempre teso a miglioramenti forse non appariscenti, ma sostanziali.

Agli inizi degli anni Cinquanta all’interno della Leitz vi erano due team di progettisti, forzatamente in competizione tra loro: quello di Willi Stein, cui si deve il noto progetto anteguerra della Leica IV, madrina della futura M3, che, per forza di cose, causa le sue novità strutturali, aveva assunto pesi e dimensioni ben superiori alle classiche Leica con innesto a vite, e il team capeggiato da Wagner, comprendente Neurath e Miller, legato ancora agli insegnamenti di Barnack su una fotocamera piccola e leggera.

Influenzato dai recenti sviluppi ottici, che permettevano di ottenere negativi di grande qualità, Wagner iniziò a concepire una fotocamera piccola e compatta per il formato 18x24mm, ovvero Halbformat’, mezzo formato. La nuova fotocamera fu approvata ufficialmente dalla Direzione Leitz nel 1959 e il progetto completato nel 1964.

La Leica H possedeva il diaframma automatico, collegato con l’esposizione automatica, e un’ottica rientrante, finendo per essere una compatta estremamente avanzata per i tempi.

L’ottica in dotazione nei due prototipi conosciuti non porta nessuna indicazione, ma dal disegno tecnico sembra essere un Hektor 28mm dotato di 5 lenti in 3 gruppi.

Il 28mm, nel mezzo formato, può essere equiparato alla focale da 35mm per il 24x36mm, pertanto potrebbe trattarsi presumibilmente del nocciolo ottico, molto ridotto nelle dimensioni, dell’Hektor 28/6,3 con innesto a vite 39x1, prodotto sino al 1955.

A conferma della sua futuristica complessità la Leica H possedeva ben 7 brevetti internazionali e finì per costare l’iperbolica cifra di un milione di Marchi dell’epoca.

Tuttavia il grande successo della M3, ben 250.000 esemplari venduti, e poi della M2, ritardò sempre di più l’introduzione della Leica H sul mercato: nel 1965 con l’acquisizione della Leitz da parte della società svizzera Wild, si razionalizzarono definitivamente le linee produttive Leitz. Le reflex Leicaflex e le fotocamere della serie M furono poste al centro della produzione e dello sviluppo, mentre per la H semplicemente non c’erano i capitali sufficienti per tentare un’avventura nel mezzo formato.

Wagner ne fu talmente colpito e demoralizzato, da rassegnare nel 1966 le dimissioni dalla Leitz, dopo ben 32 anni di onorato servizio. La Leica H , ovvero la sua ossessione di realizzare, come il suo mentore Oskar Barnack, una fotocamera piccola, leggera e facile da usare, era stata rifiutata dalla dirigenza Leitz, provocandogli un profondo stato depressivo negli ultimi anni di vita, tanto da richiedere un trattamento psichiatrico.

La vicenda di Adam Wagner, la sua ricerca di un prodotto piccolo, compatto, esteticamente gradevole, s’intreccia indissolubilmente con gli anni ruggenti della Leitz; il rifiuto della Dirigenza Leitz, il suo identificarsi col Maestro Barnack, padre putativo di Wagner, l’insuccesso della Leica H e le conseguenze catastrofiche che ebbe tutto ciò sulla vita del progettista, dimostrano una volta di più l’indissolubile legame tra ‘padri e figli’ e come dietro una vittoria o una sconfitta aziendale ci siano uomini che hanno lottato strenuamente.

Questi avvenimenti chiaramente non sono potuti entrare a far parte del mio libro, ma ne sono parte integrante e ne costituiscono un’importante appendice, da conoscere e, forse, su cui meditare, considerando che con la dispersione del Museo Leica, i prototipi colà contenuti hanno diminuito notevolmente la propria visibilità col rischio di perdere definitivamente la loro affascinante storia.

Nel mese di maggio 2009 la nota società d’asta Westlicht di Vienna ha messo in vendita uno chassis della Leica H, di ignota provenienza.

Ovvero non si sa se di proprietà di Wagner o proveniente invece dal dissolvimento del Museo Leica.

Un altro pezzo di storia che finirà in mano private, vanificando la storia di uno dei più importanti marchi della storia della fotografia: un’occasione sprecata.

 

Il primo prototipo della Leica H, ancora molto semplificato

 

Il secondo prototipo della Leica H: si nota la ghiera dei tempi sul frontale con la posizione "A"
di automatismo, la levetta per comandare il diaframma (alla vostra sinistra) ed il mirino (alla
vostra destra); sopra la ghiera dei tempi è ricavata la presa sincro-PC per il cavo del lampeggiatore,
e la ghiera di registro coassiale, provvista di numerazioni da "20" a "70" e punto di fede, regolava
l'anticipo di accensione del flash, un meccanismo analogo a quello già impiegato sulla precedente
Leica IIIf  ed anch'esso progettato da Adam Wagner

 



Spaccato tecnico della H, ove si nota con chiarezza lo schema dell’ottica, 5 lenti in tre gruppi

 

(riferendomi allo schema ottico presente nella sezione del progetto, formulo anche
l'ipotesi che la sua struttura, come del resto avviene spesso nelle schematizzazioni dei
progetti stessi, non si riferisca ad un modello preciso ma costituisca un'illustrazione
di massima, puramente simbolica, per indicare la presenza dell'obiettivo in quella
posizione; infatti, lo schema non ricalca le curvature dell'analogo Hektor 2,8cm f/6,3
ed appare piuttosto un patchwork di fantasia fra il membro posteriore dell'Elmar
50mm f/2,8 e quello anteriore del vecchio Hektor a 6 lenti, impiegato ad esempio
nel 50mm f/2,5 e 73mm f/1,9; ritengo probabile che lo schema ottico finale sia stato
configurato sul classico Elmar a 4 lenti in 3 gruppi, eccellente compromesso fra
compattezza, economia di produzione e prestazioni: Leitz, infatti, non ha mai utilizzato
schemi "tipo Heliar-Pentac" con due doppietti esterni ed un menisco singolo interno,
ma in ogni configurazione Hektor l'elemento centrale è sempre stato un doppietto - NdR-)

 

(altri schemi di progetto della Leica H, che confermano il grande contenuto tecnico insito
nel progetto di questa mezzo-formato miniaturizzata; l'ultimo schema si riferisce ad un sofisticato
galvanometro collegato all'esposimetro, per il quale Adam Wagner aveva ideato un sistema di
sicurezza contro gli sforzi eccessivi, migliorando l'affidabilità del componente - NdR -)

 

Adam Wagner con in mano la sua creatura, la Leica H , secondo prototipo
(la montatura anteriore dell'obiettivo presenta già i dati tecnici relativi a
focale e luminosità: peccato che siano illeggibili! - NdR -)

 

Chassis della H messo recentemente in vendita a Vienna dalla società d’asta Westlicht (cortesia
Leicashop). Si tratta probabilmente solo di uno step evolutivo, e, molto probabilmente, erano stati
fabbricati diversi chassis ognuno con un meccanismo diverso, da integrarsi poi successivamente
(è chiaramente visibile la tendina metallica rigida destinata a scorrere sul piano focale senza
avvolgersi sui consueti alberi vettori, come descritto meglio in seguito - NdR - )

 

Parte superiore dello chassis, con in vista il meccanismo di comando dell’otturatore

 

(questo schema ricavato dal progetto originale evidenzia come l'otturatore
della Leica H mezzo formato non disponesse di comuni tendine i seta gommata
da avvolgere su alberini pensì di "slots" a ghigliottina costituite da lamine fisse
che scorrevano davanti alla finestra del piano focale; una delle due ghigliottine
rigide è evidenziata dal n° 5  - NdR - )

 

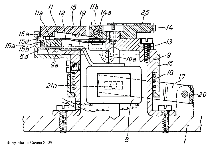
(Altri schemi ricavati dal progetto della Leica H che sottolineano la presenza di
una micro-meccanica molto sofisticata, nel più puro stile Leitz - NdR - )

 

La Leica IIIf dotata di accoppiamento al lampeggiatore con anticipo di accensione
regolabile, un altro grande progetto di Adam Wagner

 

(Questi schemi provenienti dal progetto originale evidenziano la certosina cura
progettuale profusa da Wagner concependo il sistema di sincronizzazione flash
regolabile della Leica IIIf - NdR - )

 

Il lampeggiatore CHICO con parabola collassabile fu un progetto che fece scuola:
compatto, leggero ed efficace, preconizzò una struttura poi largamente adottata
da molti altri costruttori; anche questo geniale accessorio è frutto dell'estro di
Adam Wagner


(testi e riproduzioni di Pierpaolo Ghisetti - 2009, dove non altrimenti specificato)





LO  SCRIPTORIUM  DI  PIERPAOLO  GHISETTI

ARTICOLI  TECNICI  FOTOGRAFICI